патроль Опубликовано 30 мая, 2016 Жалоба Поделиться Опубликовано 30 мая, 2016 Схемку твою нашел. Совпадает с моими предположениями. Реле действительно есть, но оно всего лишь питает переключатели. Ничего сложного в ней нет. По поводу проблем, видно не совсем поняли. Я говорил, если работает на подъем, значит провода от переключателя до двигателя целы и, скорее всего не работает переключатель. Схему загружу свою, может на ней понятнее. Работу легко проверить, достаточно взять два провода + -, и подключить к выводам 7пинового разъема 4А и 3В, затем поменять местами. Ссылка на комментарий Поделиться на другие сайты Поделиться
PROkseLLeR Опубликовано 30 мая, 2016 Жалоба Поделиться Опубликовано 30 мая, 2016 На этой схеме разъемы вообще 7 пин, у меня на 5 пин, но это не суть важно, лампочку можно отбросить.. В общем, буду пробовать. Правда когда- не знаю. Спасибо за информацию. Ссылка на комментарий Поделиться на другие сайты Поделиться
all87 Опубликовано 31 мая, 2016 Жалоба Поделиться Опубликовано 31 мая, 2016 Всес привет, отвалился провод минусовой тот что соединяет корпус и коробку. Определился откуда он отвалился примудрил его наместо, но топливный насос в баке перестал качать, ну и соответственно не заводиться, и да негорит чек стоп. Куда капать что проверить, все предохронители целые, выручайте .... Ссылка на комментарий Поделиться на другие сайты Поделиться
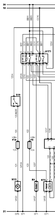
патроль Опубликовано 31 мая, 2016 Жалоба Поделиться Опубликовано 31 мая, 2016 Вот схема включения (предположительно, для точности нужна марка двигателя и марка системы впрыска) твоего насоса. Проверь по ней наличие напряжений. Насос включается при включении зажигания на 3 сек. А171-многофункциональное реле моторного, обычно располагается вместе с ЭБУ. Ссылка на комментарий Поделиться на другие сайты Поделиться
all87 Опубликовано 1 июня, 2016 Жалоба Поделиться Опубликовано 1 июня, 2016 Вот схема включения (предположительно, для точности нужна марка двигателя и марка системы впрыска) твоего насоса. Проверь по ней наличие напряжений. Насос включается при включении зажигания на 3 сек.насос.PNG А171-многофункциональное реле моторного, обычно располагается вместе с ЭБУ. На ЭБУ с задней стороны прикручена коробка, походу она, авот с маркой двигла тут нюанс, родной 1,4инжектор, носейчвс стоит 1,6 инжектор(газ/бензин)75лс. И еще где искать реле s39 (вроде правильно обозвал, плоховато идно обривиатура)??? Ссылка на комментарий Поделиться на другие сайты Поделиться
патроль Опубликовано 1 июня, 2016 Жалоба Поделиться Опубликовано 1 июня, 2016 Вот схема включения (предположительно, для точности нужна марка двигателя и марка системы впрыска) твоего насоса. Проверь по ней наличие напряжений. Насос включается при включении зажигания на 3 сек.насос.PNG А171-многофункциональное реле моторного, обычно располагается вместе с ЭБУ. На ЭБУ с задней стороны прикручена коробка, походу она, авот с маркой двигла тут нюанс, родной 1,4инжектор, носейчвс стоит 1,6 инжектор(газ/бензин)75лс. И еще где искать реле s39 (вроде правильно обозвал, плоховато идно обривиатура)??? Это не реле, это инерционный выключатель с кнопкой. Он должен звониться накоротко. Отключается только во время удара машины в препятствие. В схемах различие бывает, но не часто. Система впрыска обычно написана на блоке ЭБУ. Ссылка на комментарий Поделиться на другие сайты Поделиться
all87 Опубликовано 1 июня, 2016 Жалоба Поделиться Опубликовано 1 июня, 2016 Несочтите за наглость, а где на ЭБУ обычно пишут??? вчера вроде возился с ним и невидел надписей! Ссылка на комментарий Поделиться на другие сайты Поделиться
патроль Опубликовано 1 июня, 2016 Жалоба Поделиться Опубликовано 1 июня, 2016 Несочтите за наглость, а где на ЭБУ обычно пишут??? вчера вроде возился с ним и невидел надписей! На корпусе блока наклейки, обычно несдираемые. Ссылка на комментарий Поделиться на другие сайты Поделиться
all87 Опубликовано 1 июня, 2016 Жалоба Поделиться Опубликовано 1 июня, 2016 Нету наклеек, хотя лицевой части невидно, закрыто вторыми мозгами. Но на родных нашол только бошш сделано в германии. Ссылка на комментарий Поделиться на другие сайты Поделиться
all87 Опубликовано 21 июня, 2016 Жалоба Поделиться Опубликовано 21 июня, 2016 Ребят выручайте... машина умерла, акум скину мин 15 жду. Подключаю акум, проварачиваю ключ, загорелась понель все ок, но ключ на старт и вся машина тухнет. Пока не скинеш акум. Стартер исправен(проверяли). С толкача машина заводиться все ок! Как быть, что за защита срабатывает??? Ссылка на комментарий Поделиться на другие сайты Поделиться
патроль Опубликовано 21 июня, 2016 Жалоба Поделиться Опубликовано 21 июня, 2016 Ребят выручайте... машина умерла, акум скину мин 15 жду. Подключаю акум, проварачиваю ключ, загорелась понель все ок, но ключ на старт и вся машина тухнет. Пока не скинеш акум. Стартер исправен(проверяли). С толкача машина заводиться все ок! Как быть, что за защита срабатывает??? Нет там никакой защиты.Проверь состояние всех клемм от аккумулятора к стартеру и минусовую на блок цилиндров, обычно совместно с креплением стартера. Проверь состояние заделки кабеля в клеммы. Иногда, особенно если меняли, в местах соединения кабеля с клеммой идет интенсивное окисление и нарушение контакта. Ссылка на комментарий Поделиться на другие сайты Поделиться
tozzz Опубликовано 21 июня, 2016 Жалоба Поделиться Опубликовано 21 июня, 2016 "Акум" живой? Ссылка на комментарий Поделиться на другие сайты Поделиться
Speede1 Опубликовано 21 июня, 2016 Жалоба Поделиться Опубликовано 21 июня, 2016 здравствуйте ребята вообщем купил пыжика 306 поменял рейку и сцепление т.к всему был........ и вот перестал работать тахометр стрелка лежит когда сильно газонеш встает и падает ниче не понимаю где какой датчик смотреть или реле или предохранитель может генератор у кого какие мысли выручайте может схема есть какая ???? 1997г 1.9дизель без турбо универсал Ссылка на комментарий Поделиться на другие сайты Поделиться
all87 Опубликовано 22 июня, 2016 Жалоба Поделиться Опубликовано 22 июня, 2016 "Акум" живой? Да, проверяли на другой машине, и другой акум подставляли Ссылка на комментарий Поделиться на другие сайты Поделиться
патроль Опубликовано 22 июня, 2016 Жалоба Поделиться Опубликовано 22 июня, 2016 здравствуйте ребята вообщем купил пыжика 306 поменял рейку и сцепление т.к всему был........ и вот перестал работать тахометр стрелка лежит когда сильно газонеш встает и падает ниче не понимаю где какой датчик смотреть или реле или предохранитель может генератор у кого какие мысли выручайте может схема есть какая ???? 1997г 1.9дизель без турбо универсал На данном дизеле два варианта включения тахометра; клемма на генераторе или датчик коленвала. На генераторах почти всех типов есть отвод напряжения мимо регулятора. С ростом оборотов, растет напряжение а тахометр это вольтметр с градуировкой об.мин. Ссылка на комментарий Поделиться на другие сайты Поделиться
Speede1 Опубликовано 22 июня, 2016 Жалоба Поделиться Опубликовано 22 июня, 2016 А где стоит датчик Распредвала и как его проверить ? Может кто электрика посоветует? Ссылка на комментарий Поделиться на другие сайты Поделиться
all87 Опубликовано 22 июня, 2016 Жалоба Поделиться Опубликовано 22 июня, 2016 Иногда, особенно если меняли, в местах соединения кабеля с клеммой идет интенсивное окисление и нарушение контакта. Вы были правы, снимаю перед вами шляпу Ссылка на комментарий Поделиться на другие сайты Поделиться
патроль Опубликовано 22 июня, 2016 Жалоба Поделиться Опубликовано 22 июня, 2016 А где стоит датчик Распредвала и как его проверить ? Может кто электрика посоветует? Извини, я машинально написал "распредвала", это ошибка. На твоем дизеле его нет. Датчик коленвала, обычно стоит на корпусе коробки передач по периметру маховика, чаще в верхней части, но бывает и сбоку. А что на генераторе только 2 клеммы? Ссылка на комментарий Поделиться на другие сайты Поделиться
Speede1 Опубликовано 22 июня, 2016 Жалоба Поделиться Опубликовано 22 июня, 2016 А где стоит датчик Распредвала и как его проверить ? Может кто электрика посоветует? Извини, я машинально написал "распредвала", это ошибка. На твоем дизеле его нет. Датчик коленвала, обычно стоит на корпусе коробки передач по периметру маховика, чаще в верхней части, но бывает и сбоку. А что на генераторе только 2 клеммы? да на генераторе 2 клемы маленькая и большая значит не от генератора у меня???? а на коробке 2 датчик один под воздушным фильтром это я так понимаю на задний ход а Второй с зади коробки где лобовое снизу это он??? Ссылка на комментарий Поделиться на другие сайты Поделиться
Speede1 Опубликовано 22 июня, 2016 Жалоба Поделиться Опубликовано 22 июня, 2016 А где стоит датчик Распредвала и как его проверить ? Может кто электрика посоветует? Извини, я машинально написал "распредвала", это ошибка. На твоем дизеле его нет. Датчик коленвала, обычно стоит на корпусе коробки передач по периметру маховика, чаще в верхней части, но бывает и сбоку. А что на генераторе только 2 клеммы? да на генераторе 2 клемы маленькая и большая значит не от генератора у меня???? а на коробке 2 датчик один под воздушным фильтром это я так понимаю на задний ход а Второй с зади коробки где лобовое снизу это он он там на маховике короч снять почистить ????? возможно когда я снимал коробку и ставил сцепление возможно я его вымазал т.к у старого владельца масло отовсюду лилось((( но если не дает импульсов датчик коленвала тада как заводится авто??? или может заводится но тахометр не показывать?? Ссылка на комментарий Поделиться на другие сайты Поделиться
патроль Опубликовано 22 июня, 2016 Жалоба Поделиться Опубликовано 22 июня, 2016 Масла он может и не боится, а вот разъем и провода проверь. Датчик только для тахометра. Твой дизель, если я правильно (марку ты не указал и систему впрыска БОШ или Лукас тоже) нашел схему обходится без этого датчика Ссылка на комментарий Поделиться на другие сайты Поделиться
Димыч. Опубликовано 22 июня, 2016 Жалоба Поделиться Опубликовано 22 июня, 2016 Если датчик не снимался с кпп, то при её снятии и установке датчик мог быть повреждён. Ссылка на комментарий Поделиться на другие сайты Поделиться
Speede1 Опубликовано 22 июня, 2016 Жалоба Поделиться Опубликовано 22 июня, 2016 спасибо ребята завтра сниму проверю все отпишу как успехи Ссылка на комментарий Поделиться на другие сайты Поделиться
Speede1 Опубликовано 23 июня, 2016 Жалоба Поделиться Опубликовано 23 июня, 2016 Патроль спс тебе большое дело было в датчике коленвала Ссылка на комментарий Поделиться на другие сайты Поделиться
Speede1 Опубликовано 26 июня, 2016 Жалоба Поделиться Опубликовано 26 июня, 2016 Добрый день вообщем не конектит диагностический разьем пежо 306 1.9 дизель с системой насоса бош универсал.может кто сталкивался где че искать есть ли на сам диагностический разьем тот что под рулем в салоне где предохранители реле или предохранители или еще че у кого какие мысли ? Может у меня все работает может я не тем читаю пежо ?вот такой адаптер elm327 interface obd2 Ссылка на комментарий Поделиться на другие сайты Поделиться
Speede1 Опубликовано 26 июня, 2016 Жалоба Поделиться Опубликовано 26 июня, 2016 Еще вопрос пежо 1.9просто дизель бош насос сколько должно стоять вентиляторов охлаждения 1 или 2 авто без кондиционера стоит у меня корпус на 2 но 1ого нету так должно быть или у меня 1ого нехватает??? Ссылка на комментарий Поделиться на другие сайты Поделиться
патроль Опубликовано 26 июня, 2016 Жалоба Поделиться Опубликовано 26 июня, 2016 ЕЛМ, наверно, можешь подарить другу. Даже лексой мало что можно прочесть по твоей машине. да и нафик тебе это нужно, она проста как трактор. Вентиляторы должно быть два, когда ставят один, у него и каркас под один по центру. Тоже не переживай, если в такую жару не кипит, то и забей. Только убедись что работает. Ссылка на комментарий Поделиться на другие сайты Поделиться
Speede1 Опубликовано 26 июня, 2016 Жалоба Поделиться Опубликовано 26 июня, 2016 ЕЛМ, наверно, можешь подарить другу. Даже лексой мало что можно прочесть по твоей машине. да и нафик тебе это нужно, она проста как трактор. Вентиляторы должно быть два, когда ставят один, у него и каркас под один по центру. Тоже не переживай, если в такую жару не кипит, то и забей. Только убедись что работает. под два но работает. а в такую жару как щас держит 90-98 где то но до 100 недоходит норм для этого авто? Ссылка на комментарий Поделиться на другие сайты Поделиться
патроль Опубликовано 26 июня, 2016 Жалоба Поделиться Опубликовано 26 июня, 2016 ЕЛМ, наверно, можешь подарить другу. Даже лексой мало что можно прочесть по твоей машине. да и нафик тебе это нужно, она проста как трактор. Вентиляторы должно быть два, когда ставят один, у него и каркас под один по центру. Тоже не переживай, если в такую жару не кипит, то и забей. Только убедись что работает. под два но работает. а в такую жару как щас держит 90-98 где то но до 100 недоходит норм для этого авто? Прекрасно, но и 100 не беда. Полезет на 120, красную, тогда паникуй. Ссылка на комментарий Поделиться на другие сайты Поделиться
Speede1 Опубликовано 26 июня, 2016 Жалоба Поделиться Опубликовано 26 июня, 2016 ЕЛМ, наверно, можешь подарить другу. Даже лексой мало что можно прочесть по твоей машине. да и нафик тебе это нужно, она проста как трактор. Вентиляторы должно быть два, когда ставят один, у него и каркас под один по центру. Тоже не переживай, если в такую жару не кипит, то и забей. Только убедись что работает. под два но работает. а в такую жару как щас держит 90-98 где то но до 100 недоходит норм для этого авто? Прекрасно, но и 100 не беда. Полезет на 120, красную, тогда паникуй. ясно спс большое что подсказал Ссылка на комментарий Поделиться на другие сайты Поделиться
Рекомендуемые сообщения